La résille d’acier inoxydable qui enveloppe intégralement un îlot composé d’immeubles disparates introduit une rupture radicale avec l’ordonnancement des façades environnantes. Les motifs métalliques, enchevêtrés au-dessus d’une allège linéaire, se couchent à leur sommet dans un angle pour suivre le retrait des toitures. Rien d’agressif dans cette dentelle transparente, protectrice et d’une paradoxale douceur.
Un travail en profondeur – au sens littéral comme au deuxième degré du terme – a été mené pour restructurer un bâti hétéroclite et l’adapter à PARIS 1er
des activités tertiaires modernes. La lumière naturelle éclaire maintenant l’ensemble des plateaux. Un effort de rationalisation a permis d’unifier les menuiseries, coulissantes sur rues et ouvrant à la française sur cour (voir amc n° 149, février 2005).
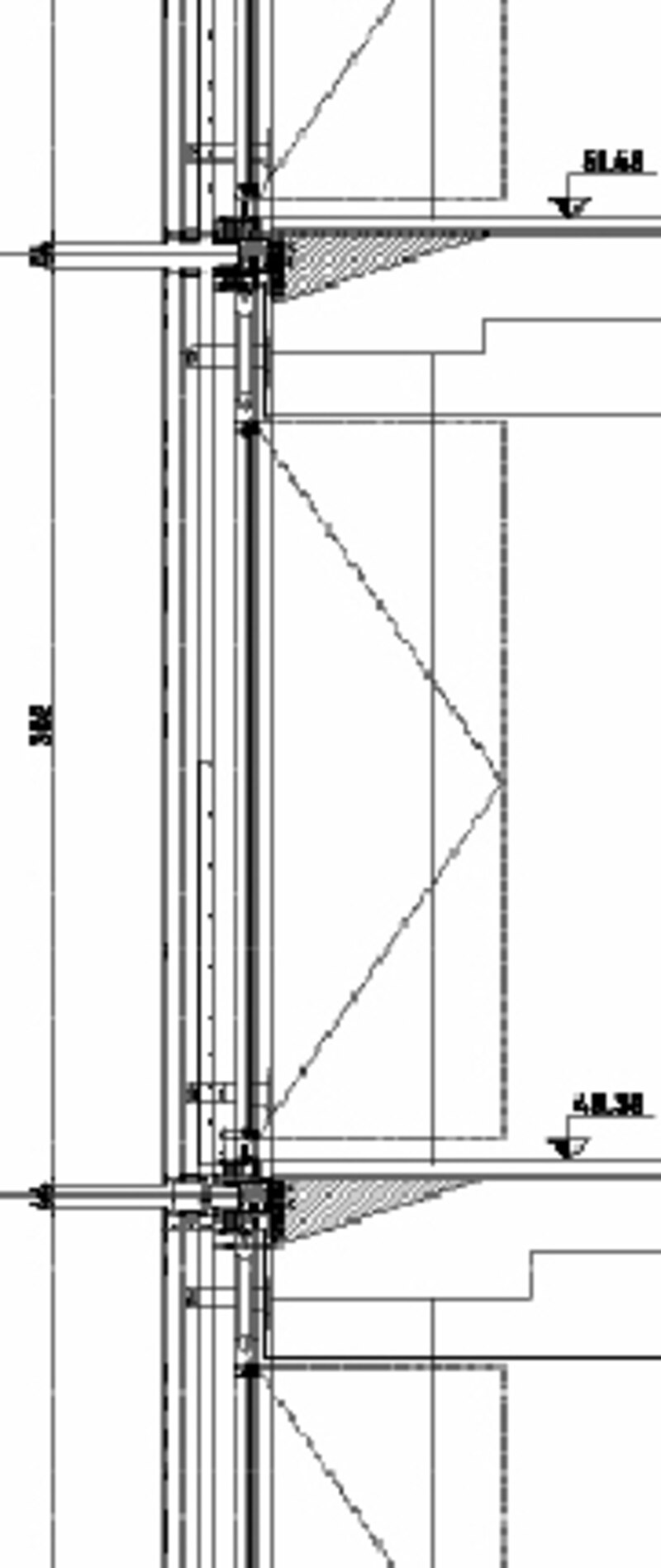
La résille d’inox a pour vocation première de créer une image expressive et homogène à un ensemble incohérent. Dans le même temps, elle apporte une réponse pertinente à plusieurs exigences techniques, en particulier une fonction garde-corps sur la totalité du périmètre de l’îlot et un effet brise-soleil avec une densité plus forte des lignes en partie haute des baies.
De nombreuses interprétations de ce décor peuvent être proposées. Nous y percevons certaines réminiscences des motifs végétaux du style 1900. En réalité, la résille juxtapose six motifs relevés sur des fresques de Giulio Romano au Palais du Té à Mantoue, puis déformés sur ordinateur pour répondre aux contraintes du projet, en termes de transparence et de sécurité notamment. Une épaisseur de 12 mm lui confère une rassurante rigidité. L’acier inoxydable est chargé en nickel pour affronter les pollutions urbaines.
Au total, la résille d’environ 5 000 m2 est composée de 450 panneaux hauteur d’étage (3 X 3,80 m) découpés au laser et soudés sur des cadres, eux-mêmes scellés dans la façade par des consoles.
Particulièrement réactive aux variations de la luminosité et de couleur du ciel parisien, cette peau arachnéenne d’inox s’anime de reflets et d’ombres qui parviennent souvent à faire oublier le caractère inévitablement répétitif d’une série de six motifs sur plusieurs milliers de mètres carrés.





